
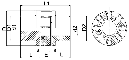
XL(LX)型彈性星型聯軸器 特點及應用場合:具有補償兩軸相對偏移、減振、緩沖性能、徑向尺寸小,結構簡單、不用潤滑、承載能力較高,維護方使、更換彈性元件需軸向移動,適用于聯接同軸線,起動頻繁,正反轉變化,中速、中等轉矩傳動軸系和要求工作可靠-性高的工作部位。不適用于重載、低速及軸向尺寸受艱制,更換彈性元件后兩軸對中困難的部位。 XL型--基本型;XLD型--擴大軸孔型;

XL(LX)型彈性星型聯軸器的基本尺寸和參數(JB/T 10466-2004) mm

電話: 0511-83998589 手機: 13952897281(徐經理) 13952802303(周經理) 18118972615(朱工) 郵箱: sales@zjlianxin.cn 地址: 鎮江市新區丁卯開發區潘宗工業園11號
Copyright ? 鎮江聯鑫聯軸器有限公司 版權所有 蘇ICP備14043855號-2 技術支持:江蘇易潤
專業生產:
